Use this damage mapping pack to standardize vehicle walkarounds and capture consistent evidence at pickup and return. It is designed for teams that need repeatable inspection records across branches.
Included
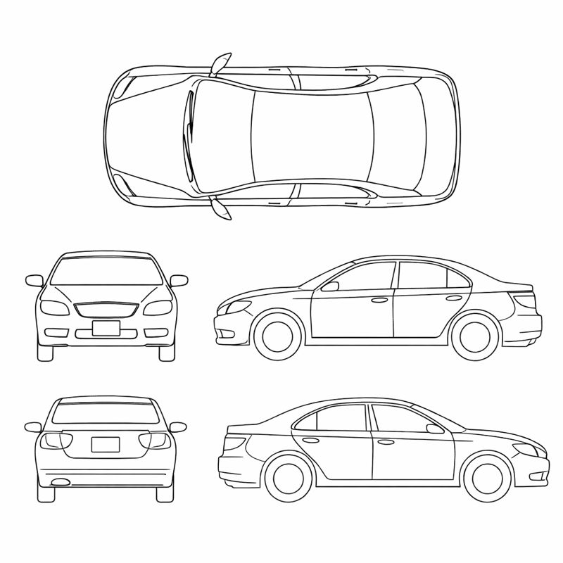
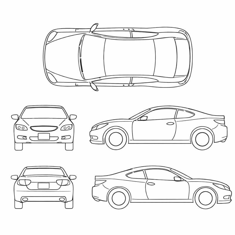
- Sedan, SUV, van, pickup, hatchback, coupe, convertible, passenger van, box truck, golf cart, motorcycle, bicycle, and tractor/other layouts.
- PNG format for print and mobile use.
- A subtle "Powered by Resvo" watermark in the footer area.
Use
These vehicle outlines are meant for operators to mark damage at the start and end of each trip.
- Use the map at pickup to mark existing damage.
- Capture matching photos for each marked area.
- Confirm the walkaround with the customer and collect a signature.
- Use the same map at return to mark any new damage for comparison.
Downloads
All files are watermarked with the Resvo logo in the footer.

Download all files:
Individual downloads:
- Sedan (PNG)
- SUV (PNG)
- Van (PNG)
- Pickup (PNG)
- Hatchback (PNG)
- Coupe (PNG)
- Convertible (PNG)
- Passenger van (PNG)
- Box truck (PNG)
- Golf cart (PNG)
- Motorcycle (PNG)
- Bicycle (PNG)
- Tractor/other (PNG)
Resvo support
Resvo ties inspection evidence to each reservation so pre- and post-rental condition stays visible. See how it works in the inspections module.
Related
About
Resvo is a rental management system for professional operators. Learn more at the Resvo overview or Book a demo.
Built by Resvo - Rental Infrastructure.
